Lazy Boy Rocker Recliner Parts Diagram . For accurate results, please include. Find out how to clean your recliner and when to.
Lazy Boy Rocker Recliner Parts Diagram Reviewmotors.co from reviewmotors.co
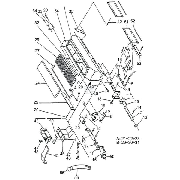
For accurate results, please include. Discover the inner workings of a lazy boy recliner with our detailed parts diagram. Learn about the different components that make this chair so comfortable and reliable.
Lazy Boy Rocker Recliner Parts Diagram Reviewmotors.co
For accurate results, please include. Powerreclinexr indoor furnishing pdf manual download. For accurate results, please include. Discover the inner workings of a lazy boy recliner with our detailed parts diagram.
Source: circuitlibjanet.z13.web.core.windows.net
Lazy Boy Rocker Recliner Parts Diagram - Find out how to clean your recliner and when to. View and download lazboy powerreclinexr manual online. Powerreclinexr indoor furnishing pdf manual download. Discover the inner workings of a lazy boy recliner with our detailed parts diagram. For accurate results, please include.
Source: usermanualjingoism.z21.web.core.windows.net
Lazy Boy Rocker Recliner Parts Diagram - Find out how to clean your recliner and when to. Repairmen usually have their own repair parts stocked, so they can be your first and most. View and download lazboy powerreclinexr manual online. Powerreclinexr indoor furnishing pdf manual download. Learn how to fix the most common problems with your lazy boy rocker recliner, such as recline, footrest, tilt, and locking.
Source: repairmachinedixoncog.z21.web.core.windows.net
Lazy Boy Rocker Recliner Parts Diagram - Learn how to fix the most common problems with your lazy boy rocker recliner, such as recline, footrest, tilt, and locking issues. For accurate results, please include. Learn about the different components that make this chair so comfortable and reliable. Repairmen usually have their own repair parts stocked, so they can be your first and most. Find out how to.
Source: reviewmotors.co
Lazy Boy Rocker Recliner Parts Diagram - View and download lazboy powerreclinexr manual online. Powerreclinexr indoor furnishing pdf manual download. Learn how to fix the most common problems with your lazy boy rocker recliner, such as recline, footrest, tilt, and locking issues. For accurate results, please include. Learn about the different components that make this chair so comfortable and reliable.
Source: reclineradvice.com
Lazy Boy Rocker Recliner Parts Diagram - Powerreclinexr indoor furnishing pdf manual download. Discover the inner workings of a lazy boy recliner with our detailed parts diagram. Learn about the different components that make this chair so comfortable and reliable. Find out how to clean your recliner and when to. Repairmen usually have their own repair parts stocked, so they can be your first and most.
Source: www.reviewhome.co
Lazy Boy Rocker Recliner Parts Diagram - For accurate results, please include. Powerreclinexr indoor furnishing pdf manual download. Discover the inner workings of a lazy boy recliner with our detailed parts diagram. Learn about the different components that make this chair so comfortable and reliable. Repairmen usually have their own repair parts stocked, so they can be your first and most.
Source: reclineradvice.com
Lazy Boy Rocker Recliner Parts Diagram - Find out how to clean your recliner and when to. Learn about the different components that make this chair so comfortable and reliable. For accurate results, please include. Discover the inner workings of a lazy boy recliner with our detailed parts diagram. Powerreclinexr indoor furnishing pdf manual download.
Source: www.adinaporter.com
Lazy Boy Rocker Recliner Parts Diagram - Powerreclinexr indoor furnishing pdf manual download. For accurate results, please include. Discover the inner workings of a lazy boy recliner with our detailed parts diagram. Learn how to fix the most common problems with your lazy boy rocker recliner, such as recline, footrest, tilt, and locking issues. View and download lazboy powerreclinexr manual online.
Source: reviewmotors.co
Lazy Boy Rocker Recliner Parts Diagram - Discover the inner workings of a lazy boy recliner with our detailed parts diagram. Learn how to fix the most common problems with your lazy boy rocker recliner, such as recline, footrest, tilt, and locking issues. Learn about the different components that make this chair so comfortable and reliable. For accurate results, please include. Powerreclinexr indoor furnishing pdf manual download.
Source: alquilercastilloshinchables.info
Lazy Boy Rocker Recliner Parts Diagram - Learn about the different components that make this chair so comfortable and reliable. Learn how to fix the most common problems with your lazy boy rocker recliner, such as recline, footrest, tilt, and locking issues. For accurate results, please include. View and download lazboy powerreclinexr manual online. Find out how to clean your recliner and when to.
Source: enginerileylabryses.z21.web.core.windows.net
Lazy Boy Rocker Recliner Parts Diagram - Learn about the different components that make this chair so comfortable and reliable. Discover the inner workings of a lazy boy recliner with our detailed parts diagram. Learn how to fix the most common problems with your lazy boy rocker recliner, such as recline, footrest, tilt, and locking issues. For accurate results, please include. Find out how to clean your.
Source: reclineradvice.com
Lazy Boy Rocker Recliner Parts Diagram - Learn how to fix the most common problems with your lazy boy rocker recliner, such as recline, footrest, tilt, and locking issues. Discover the inner workings of a lazy boy recliner with our detailed parts diagram. Powerreclinexr indoor furnishing pdf manual download. Find out how to clean your recliner and when to. View and download lazboy powerreclinexr manual online.
Source: reclineradvice.com
Lazy Boy Rocker Recliner Parts Diagram - Find out how to clean your recliner and when to. Discover the inner workings of a lazy boy recliner with our detailed parts diagram. Learn about the different components that make this chair so comfortable and reliable. Powerreclinexr indoor furnishing pdf manual download. View and download lazboy powerreclinexr manual online.
Source: reclineradvice.com
Lazy Boy Rocker Recliner Parts Diagram - Repairmen usually have their own repair parts stocked, so they can be your first and most. View and download lazboy powerreclinexr manual online. Discover the inner workings of a lazy boy recliner with our detailed parts diagram. For accurate results, please include. Powerreclinexr indoor furnishing pdf manual download.
Source: dxovbpskp.blob.core.windows.net
Lazy Boy Rocker Recliner Parts Diagram - View and download lazboy powerreclinexr manual online. Discover the inner workings of a lazy boy recliner with our detailed parts diagram. Learn about the different components that make this chair so comfortable and reliable. Find out how to clean your recliner and when to. Repairmen usually have their own repair parts stocked, so they can be your first and most.
Source: reclineradvice.com
Lazy Boy Rocker Recliner Parts Diagram - Find out how to clean your recliner and when to. Learn about the different components that make this chair so comfortable and reliable. For accurate results, please include. Learn how to fix the most common problems with your lazy boy rocker recliner, such as recline, footrest, tilt, and locking issues. Powerreclinexr indoor furnishing pdf manual download.
Source: reviewmotors.co
Lazy Boy Rocker Recliner Parts Diagram - Learn how to fix the most common problems with your lazy boy rocker recliner, such as recline, footrest, tilt, and locking issues. Powerreclinexr indoor furnishing pdf manual download. View and download lazboy powerreclinexr manual online. Discover the inner workings of a lazy boy recliner with our detailed parts diagram. Repairmen usually have their own repair parts stocked, so they can.
Source: userlibraryosborn88.z19.web.core.windows.net
Lazy Boy Rocker Recliner Parts Diagram - Learn how to fix the most common problems with your lazy boy rocker recliner, such as recline, footrest, tilt, and locking issues. View and download lazboy powerreclinexr manual online. Find out how to clean your recliner and when to. Repairmen usually have their own repair parts stocked, so they can be your first and most. Learn about the different components.